>

Hyundai Equus: Rear Differential Carrier Repair procedures - Differential Carrier Assembly - Driveshaft and axle - Hyundai Equus VI 2009-2026 Service ManualHyundai Equus: Rear Differential Carrier Repair procedures

Replacement
1.
Drain off oil from Rear differential carrier.

2.
Remove the propeller shaft.
(Refer to Propeller Shaft Assembly - "Propeller Shaft")
3.
Remove the rear drive shaft.
(Refer to Rear Driveshaft Assembly - "Rear Drive Shaft")
4.
Support the differential assembly with the jack.
5.
After loosening the differential mounting bolts and remove the differential assembly (A).

Tightening torque :
80.0 ~ 100.0 Nm (8.0 ~ 10.0 kgf.m, 57.8 ~ 72.3 lb-ft)


Tightening torque :
80.0 ~ 100.0 Nm (8.0 ~ 10.0 kgf.m, 57.8 ~ 72.3 lb-ft)

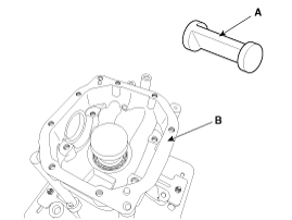
6.
Loosen the mounting bolts and then remove the cover (A).

7.
Installation is the revers order of removal.
Disassembly
Rear Differential Carrier Disassembly
1.
Drain oil by removing the drain plug (A) before removing the rear differential carrier.
   
Using a new washer (A) whenever installing.

2.
Using the SST(09530-3T300), hold the engine and transaxle assembly safely.

3.
Remove the filler plug (A).
   
Use a new washer (A) whenever installing.

4.
Using the screwdriver, remove the side oil seal (A).
   
Use a new oil seal whenever installing.

5.
Loosen the mounting bolts (A) and then remove the cover (B).

6.
Remove the air breather plug (A).

7.
Loosen the bearing cap bolts (A) and then remove the bearing cap (B).

8.
Remove the gear carrier assembly (A).

9.
Attach tag to take care to not confuse left and right side bearing.

Gear Carrier Assembly Disassembly
1.
Loosen the seal bolts and then remove the gear carrier (A) and ring gear (B).
   
Piant match marks on the gear carrier and the ring gear.

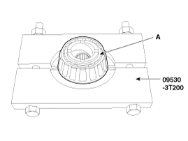
2.
Using the SST (09530-3T200) remove the Front / rear bearing (A).

3.
Take care to not confuse left and right side bearing after remove the bearing.

Pinion Assembly Disassembly
1.
Using the SST (09530-3T300), fixing the companion flange and then remove the pinion lock nut (A).

2.
Remove the companion flange (A).

3.
Using the screwdriver, remove the pinion oil seal (A).

4.
Using the presses, remove the pinion front bearing.

5.
Using a hammer and chisel, remove the pinion bearing outer race (A).

6.
Using the SST(09527-4A000), press the pinion drive gear and remove the pinion bearing spacer (A), the front bearing (B), Inner bearing adjustment shims (C) in the order.

Reassembly
Pinion Drive Gear Height Adjustment
Drive pinion height adjustment in the following order.
1.
Special tool to measure the pinion height.

2.
Special tool lock nut (A), flange (B), pinion oil seal (C), pinion front bearing (D), inner bearing (E), special tool support body (F) the differential carrier is mounted as follows.

Tightening torque lock nut (A) :
186.3 ~ 539.4Nm (19.0 ~ 55.0kgf.m, 137.4 ~ 397.8 lb-ft)

3.
Put the main body (A) on the Differential Case (B).

4.
Install the bearing cap (B) on the main body (A).

Tightening torque :
54.0 ~ 63.7 Nm (5.5 ~ 6.5 kgf.m, 39.8 ~ 47.0 lb-ft)

5.
Using the feeler gage, measure the gap between main body (A) and bearing cap (B). And select inner bearing adjustment shim.

6.
Install the selected Inner Bearing adjustment shim (A).

Inner Bearing Adjustment Shim
Part No.
Thickness (mm)
Unit (in.)
53040-3C138
1.38
0.054
53040-3C141
1.41
0.055
53040-3C144
1.44
0.057
53040-3C147
1.47
0.058
53040-3C150
1.50
0.059
53040-3C153
1.53
0.06
53040-3C156
1.56
0.061
53040-3C159
1.59
0.063
53040-3C162
1.62
0.064
53040-3C165
1.65
0.065
53040-3C168
1.68
0.066
53040-3C171
1.71
0.067
53040-3C174
1.74
0.068
53040-3C177
1.77
0.067
53040-3C180
1.80
0.071
53040-3C183
1.83
0.072
53040-3C186
1.86
0.073
53040-3C189
1.89
0.074
53040-3C192
1.92
0.076
53040-3C195
1.95
0.077
53040-3C198
1.98
0.078

Rear Differential Carrier Reassembly
1.
Using the SST (09530-3T100), install the inner pinion bearing outer race (A).

2.
Using the SST (09530-3T100), install the outer pinion bearing outer race.

3.
Using the Round pipe (A), press in the pinion rear bearing (B).

4.
Install the pinion bearing spacer (B) on the pinion drive gear (A).
   
Must be use new spacer

5.
Using the Round pipe (A), press in the front bearing (B).

6.
Using the SST (09530-3T600), install the Pinion oil seal.

7.
Using the round pipe (A), press in the companion flange.

8.
Using the SST (09530-3T300), fix the companion flange and install the pinion lock nut.

Tightening torque :
186.3 ~ 539.4 Nm (19.0 ~ 55.0 kgf.m, 137.4 ~ 397.8 lb-ft)

9.
Tighten the lock nut .

Standard :
112.78 ~ 161.80 Nm (11.5~16.5 kgf.m, 83.2~119.3 lb-ft)

   
Maintain the constant speed rotation (60rpm).
Gear Carrier Assembly Reassembly
1.
Using SST (09453-3B200), install the front/rear bearing.

2.
Install the gear carrier and ring gear.

Tightening torque :
88.3 ~ 137.3 Nm (9.0 ~ 14.0 kgf.m, 65.1 ~ 101.3 lb-ft)

   
When tighten the seal bolt, please do it diagonal.

3.
Install the left/right side bearing outer race (A) to the gear carrier.

4.
Fix the left/right side bearing outer race (A) with both hands and install gear carrier assembly (B) to the diff case.

5.
Insert the left/right adjustment spacer between diff side bearing and carrier. And then install the baearing cap (A) with marking.

Tightening torque :
53.9~63.7Nm (5.5~6.5kgf.m, 39.8~47.0lb-ft)

6.
Adjust the diff spacer and confirm the standard of backrash.

Standard :
0.10 ~ 0.15 mm ( 0.004~0.006 inch)

   
•
Thickness of the diff spacer need to adjusted if backrass is small.
•
Lessen the thickness to the left side diff shim. By contraries, enlarge the thickness of the right side diff shim as that much.
7.
Adjust gear assembly run out.

Standard :
0~0.05mm (0~0.002inch)

8.
Measures the freeroad.

Standard :
Pinion freeroad : 0.25~0.84 Nm (2.5 ~ 8.5 kgf.cm, 0.18 ~ 0.62 lb-ft)

9.
Install the air breather (A).

Tightening torque :
9.8 ~ 19.6 Nm (1.0 ~ 2.0 kgf.m, 7.2 ~ 14.5 lb-ft)

10.
Coating the sealant (A) on the rear cover surface.

Sealant : MS 721-40

   
•
Remove the remaining sealant before coating.
•
Coating along the rear cover surface to the 2~3 mm of thickness evenly .

11.
Install the differential rear cover (A).

Tightening torque :
39.2 ~ 49.0 Nm (4.0 ~ 5.0 kgf.cm, 28.9 ~ 36.2 lb-ft)

12.
Using the SST (09530-3T000), install the left/right side oil seal.

13.
Install the drain plug (A) and pillar plug (B).

Pillar plug (A) :
39.2 ~ 58.8 Nm (4.0 ~ 6.0 kgf.cm, 28.9 ~ 43.4 lb-ft)
Drain plug (B) :
49.0 ~ 68.6 Nm (5.0 ~ 7.0 kgf.cm, 36.2 ~ 50.6 lb-ft)

14.
Reassembly the rear differential assembly to the vehicle and inject the oil.

Oil type :
Hyjpoid gear oil, MS 517-15GT (SAE 75W/90, API GL-5, SHELL SPIRAX)
Oil capacity (L) : 1.4 ± 0.05L

Inspection
1.
After clearing, check for damage parts or abrasion. Follow the below method, if any are noticed.
Item
Identify
Gear set (drive pinion gear & drive gear)
The gear set must be replaced with a new one if the gear tooth is damaged (crack/pits/dents).
Bearing
The bearing must be replaced with a new one if the bearing roller or race is damaged (crack/pits/dents).
Oil seal
The oil seal must be replaced with a new one if disassembled.
Differential carrier
The carrier must be replaced with a new one if the inside of the carrier bearing is damaged (crack/pits/dents) or a crack is found inside/ouside.
Companion flange
The pinion oil seal must be replaced with a new one if the contact surface is damaged (crack/pits/dents).
Open type
Diff gear set
(Diff side gear & diff pinion gear)
The gear set must be replaced with a new one if the gear tooth or tooth surface is damaged (crack/pits/dents).
Diff washer
(Diff side gear washer & diff pinion gear washer)
The wahser must be replaced with a new one if the washer surface is damaged (crack/pits/dents).

2.
Check the tooth contact patten.
Tooth contact
Sontact state
Solution
Standard contact



1. Wheel contact

Increase the thickness of the pinion height adjusting shim, and position the drive pinion closer to the center of the drive gear.
Also, for backlash adjustment, reposition the drive gear further from the drive pinion.

2. Face contact

3. Toe contact

Decrease the thickness of the pinion height adjusting shim, and position the drive pinion further from the center of the drive gear.
Also, for backlash adjustment, reposition the drive gear closer to the drive pinion.

4. Flank contact


   
1.
Tooth contact pattern is a method for judging the result of the adjustmentof drive pinion height and final drive gear backlash. The adjustment of drivepinion height and final drive gear backlash should be repeated until the toothcontact patterns are similar to the standard tooth contact pattern.
2.
When you cannot obtain a correct pattern, the drive gear and drive pinionhave exceeded their limits. Gear should be replaced as a set.
    Rear Differential Carrier Components and Components Location
    Component 1. Rear differential carrier assembly Component 1. Pinion lock nut2. Companion flange3. Pinion oil seal4. Pinion front bearing5. Differential case6. Side oil seal7. Drain plug8. ...

    Suspension System
    ...

    See also:

    Pre-safe seat belt (PSB) (if equipped)
    The purpose of the pre-safe seat belt is to tighten the seat belt during emergency braking, or when a loss of control is sensed. CAUTION The pre-safe seat belt activates only when the passenge ...

    Curtain Airbag (CAB) Module Description and Operation
    Description Curtain airbags are installed inside the headliner (LH and RH) and protect the driver and passenger from danger when a side crash occurs. The SRSCM determines deployment of the curt ...

    Interior light bulb replacement
    1. Using a flat-blade screwdriver, gently pry the lens from the interior light housing. 2. Remove the bulb by pulling it straight out. WARNING Prior to working on the Interior Lights, ensure th ...

    Categories

    Hyundai Equus Manuals

    © 2011-2026 Copyright www.heqmanual.com