>
Hyundai Equus: Heater Unit Components and Components Location
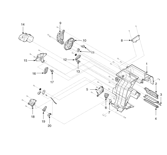
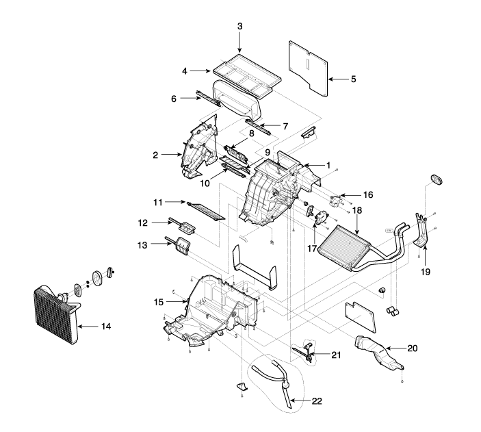
| Component Location |

| Components |

| 1. Heater Case (Left) 2. Vent Door (Left) 3. Temperature Door (Left) 4. Floor Door (Left) 5. Console Temperature Control Actuator (A) 6. Console Temperature Lever 7. Console Temperature Arm 8. Vent Guide 9. Mode Control Actuator 10. Mode Cam | 11. Vent Door Arm 12. Floor Door Lever 13. Floor Door Arm 14. Shower Duct 15. Temperature Control Actuator (Driver's side) 16. Temperature Door Lever (Driver's side) 17. Temperature Door Arm (Driver's side) 18. Console Temperature Control Actuator 19. Console Temperature Lever 20. Console Temperature Arm |

| 1. Heater Case (Right) 2. Seperator 3. Center Duct Seal 4. Center Duct Seal 5. Insulator 6. Def Door (Left) 7. Def Door (Right) 8. Vent Door (Right) | 9. Temperature Door (Right) 10. Floor Door (Right) 11. Console Temperature Door 12. Console Temperature Door (A) 13. Console Mode Door 14. Evaporator Core 15. Heater Lower Case 16. Auto Defogging Actuator | 17. Temperature Control Actuator (Passenger's side) 18. Heater Core 19. Heater Core Cover 20. Shower duct 21. Evaporator Temperature Sensor 22. Drain Hose |
Heater
Heater Unit Repair proceduresOwner’s responsibility
✽ NOTICE
Maintenance Service and Record Retention are the owner's responsibility.
You should retain documents that show proper maintenance has been performed on
your vehicle in accordan ...
Mic Repair procedures
Removal
1.
Remove the hands free mic (A) from the roof trim.
Installation
1.
Install the hands free mic after connecting the mic connector.
Inspection
1.
Remove the handsfree mic (A) aft ...
Components and Components Location
Components Location
1. Smart Junction Box (SJB)2 . Body Control Module (BCM)3 . Smart Key Unit (SMK)4 . Driver Door Module (DDM)5 . Assis Door Module (ADM)6 . Cluster (CLU)7 . Around View Monitor ...