>

Hyundai Equus: CVVT (Continuously Variable Valve Timing) System Description and Operation - Exhaust Emission Control System - Emission Control System - Hyundai Equus VI 2009-2026 Service ManualHyundai Equus: CVVT (Continuously Variable Valve Timing) System Description and Operation

Description
Continuous Variable Valve Timing (CVVT) system advances or retards the valve timing of the intake and exhaust valve in accordance with the ECM control signal which is calculated by the engine speed and load.
By controlling CVVT, the valve over-lap or under-lap occurs, which makes better fuel economy and reduces exhaust gases (NOx, HC). CVVT improves engine performance through reduction of pump loss, internal EGR effect, improvement of combustion stability, improvement of volumetric efficiency, and increase of expansion work.
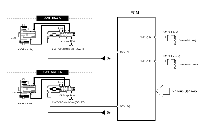
This system consist of
-
the CVVT Oil Control Valve (OCV) which supplies the engine oil to the cam phaser or runs out the engine oil from the cam phaser in accordance with the ECM PWM (Pulse With Modulation) control signal,
-
the CVVT Oil Temperature Sensor (OTS) which measures the engine oil temperature,
-
and the Cam Phaser which varies the cam phase by using the hydraulic force of the engine oil.
The engine oil getting out of the CVVT oil control valve varies the cam phase in the direction (Intake Advance/Exhaust Retard) or opposite direction (Intake Retard/Exhaust Advance) of the engine rotation by rotating the rotor connected with the camshaft inside the cam phaser.

Operation Principle
The CVVT has the mechanism rotating the rotor vane with hydraulic force generated by the engine oil supplied to the advance or retard chamber in accordance with the CVVT oil control valve control.

[CVVT System Mode]

(1) Low Speed / Low Load
(2) Part Load


(3) Low Speed / High Load
(4) High Speed / High Load



Driving
Condition
Exhaust Valve
Intake Valve
Valve
Timing
Effect
Valve
Timing
Effect
(1) Low Speed
/Low Load
Completely
Advance
* Valve Under-lap
* Improvement of combustion stability
Completely
Retard
* Valve Under-lap
* Improvement of combustion stability
(2) Part Load
Retard
* Increase of expansion work
* Reduction of pumping loss
* Reduction of HC
Retard
* Reduction of pumping loss
(3) Low Speed
/High Load
Retard
* Increase of expansion work
Advance
* Prevention of intake back flow (Improvement of volumetric efficiency)
(4) High Speed
/High Load
Advance
* Reduction of pumping loss
Retard
* Improvement of volumetric efficiency

    Catalytic Converter Description and Operation
    Description The catalytic converter of the gasoline engine is a three way catalyst. It oxidizes carbon monoxide and hydrocarbons (HC), and separates oxygen from the oxides of nitrogen (NOx). T ...

    Engine Control/Fuel System
    ...

    See also:

    Fuel Tank Pressure Sensor (FTPS) Description and Operation
    Description Fuel Tank Pressure Sensor (FTPS) is a component of the evaporative emission control system and is installed on the fuel tank, the fuel pump, or the canister. It checks the purge con ...

    Special Service Tools
    Special Service Tools Tool (Number and name)IllustrationUseCrankshaft front oil seal installer(09231-2J310)(09231-H1100)Installation of the front oil sealRing gear stopper(09231-2B100)(09231-3N10 ...

    Sunroof Switch Repair procedures
    Inspection 1. Disconnect the negative (-) battery terminal. 2. Open the sunglass case cover from the overhead console then remove the 2 screws holding the overhead console. Disconnect the sw ...

    Categories

    Hyundai Equus Manuals

    © 2011-2026 Copyright www.heqmanual.com