>
Hyundai Equus: Auto Head lamp leveling Unit Schematic Diagrams
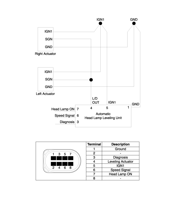
| Circuit Diagram |

Components and Components Location
Auto Head lamp leveling Unit Description and OperationCompass function
The Compass can be turned ON and OFF and will remember the last state when the
ignition is cycled. To turn the display feature ON/OFF:
1. Press and release the button
within 1 second to turn the ...
Automatic-dimming function
Your mirror will automatically dim upon detecting glare from the vehicles traveling
behind you. The autodimming function can be controlled by the Dimming ON/OFF Button:
1. Pressing the button turn ...
Fuel Tank Pressure Sensor (FTPS) Description and Operation
Description
Fuel Tank Pressure Sensor (FTPS) is a component of the
evaporative emission control system and is installed on the fuel tank,
the fuel pump, or the canister. It checks the purge con ...