>

Hyundai Equus: Power Seat Module(PSM) Description and Operation - Body Network System - Body Electrical System - Hyundai Equus VI 2009-2026 Service ManualHyundai Equus: Power Seat Module(PSM) Description and Operation

Description
1.
Power Seat Module (PSM)

(1)
Main features
Item
Description
Installation location
Lower section of the driver side seat
Component configuration
1.
Embedded with CAN Communication IC
2.
Seat memory save and recall check buzzer embedded
Main features
1.
Manual function (manual control through switch operation)
2.
Memory switch can store and recall seat positions for 2 drivers
3.
Out synchronization (can be activated/deactivated via USM function or scanner)
4.
Internal buzzer control by save & recall
5.
Headrest SW, slide, and recline limit switch applied
6.
B+ recall
7.
Added limit setting mode using the scanner

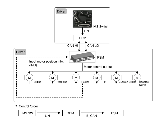
(2)
Power seat signal flow

(3)
For detail information about circuit diagram, refer to the power window switch.
(Refer to IMS (Integrated Memory System) - "Memory Power Seat Unit")
    Rear Right Door Module (RRDM) Description and Operation
    Description 1. Rear Right Power Window Switch (1) Main features ItemExplanationInstallation positon Rear Right Door TrimComponent configuration 1. Embedded with LIN Communication IC 2. ...

    Assist Power Seat Module(APSM) Description and Operation
    Description 1. Assist Power Seat Module (APSM) (1) Main features ItemDescriptionInstallation location Lower section of the assist side seatComponent configuration 1. Embedded with CAN Commu ...

    See also:

    Compass function
    The Compass can be turned ON and OFF and will remember the last state when the ignition is cycled. To turn the display feature ON/OFF: 1. Press and release the button to turn the display feature ...

    Trunk Unlocking
    To unlock: 1. Carry the Smart Key. 2. Either press the trunk handle button or press the Trunk Unlock button on the Smart Key for more than one second. 3. The hazard warning lights will blink two ...

    Compass Mirror Repair procedures
    Adjustment Calibration procedure If the display read "C", calibrate the compass. 1. Driving the vehicle in a circle at less than 8km/h 3 times or until the compass heading appears. 2. Drivin ...

    Categories

    Hyundai Equus Manuals

    © 2011-2026 Copyright www.heqmanual.com