>
Hyundai Equus: Cylinder Head Repair procedures
| Removal |
|
|
| 1. |
Disconnect the negative terminal (A) from the battery.
|
| 2. |
Remove the engine room cover (A), engine cover (B) and radiator grill upper cover (C).
|
| 3. |
Loosen the drain plug (A) and drain the engine coolant. Remove the radiator cap to speed draining.
|
| 4. |
Remove the air cleaner assembly.
|
| 5. |
Disconnect the radiator upper hose (A) and lower hose (B).
|
| 6. |
Remove the fuel hose (A), the purge control solenoid valve (PCSV) hose (B) and the brake booster vacuum hose (C).
|
| 7. |
Disconnect the heater hoses (A).
|
| 8. |
Remove the radiator & cooling fan assembly from the vehicle.
(Refer to Cooling system in this group) |
| 9. |
Turn the tensioner (B) clockwise and loosen, then remove the drive belt (A).
|
| 10. |
Disconnect the engine wiring harness connectors and hoses.
|
| 11. |
Remove the oil level gauge (A).
|
| 12. |
Remove the high pressure fuel pipe bracket bolt (A), low
pressure fuel tube bracket bolts (B) and the injector connector bracket
bolt (C).
|
| 13. |
Remove the intake manifold module (A).
|
| 14. |
Remove the low pressure fuel tube (A).
(Refer to FL group)
|
| 15. |
Remove the LH/RH high pressure fuel pipes (A).
(Refer to FL group)
|
| 16. |
Disconnect the cross over pipe (A) and then remove the LH/RH injector & rail assembly (B).
(Refer to FL group)
|
| 17. |
Remove the LH/RH knock sensors (A) and then remove the wiring assembly bracket (B).
|
| 18. |
Remove the water hose (A).
|
| 19. |
Remove the LH/RH ignition coils (A).
|
| 20. |
Remove the LH/RH fuel pumps (A).
(Refer to FL group)
|
| 21. |
Remove the LH/RH cylinder head covers (A).
|
| 22. |
Remove the cylinder head cover gasket (A), oil seal (B) and the fuel pump adapter gasket (C).
|
| 23. |
Remove the oil pressure switch (OPS) wiring assembly and bracket (A).
|
| 24. |
Remove the engine coolant temperature sensor (ECTS) wiring assembly and bracket (A).
|
| 25. |
Remove the LH/RH exhaust manifold heat protectors (A).
|
| 26. |
Remove the LH/RH exhaust manifolds (A).
(Refer to intake and exhaust system in this group)
|
| 27. |
Remove the LH/RH intake/exhaust oil control valve (OCV) & filter assemblies (A).
|
| 28. |
Remove the LH/RH timing chain upper covers (A).
|
| 29. |
Remove the LH/RH timing chain upper cover gaskets (A).
|
| 30. |
Remove the LH/RH cam to cam guides (A).
|
| 31. |
Align the LH/RH timing mark of CVVT sprocket.
[RH]
[LH]
|
| 32. |
Remove the water outlet pipe (A) and the water inlet pipe (B).
|
| 33. |
Remove the water temperature control assembly (A) and the water outlet fitting assembly (B).
|
| 34. |
Remove the LH/RH timing chain tensioners (A) and chain guide fixing bolts (B).
|
| 35. |
Remove the LH/RH fuel pump adapters (A) and the roller tappets (B).
|
| 36. |
Remove the LH/RH camshaft bearing caps (A) and the camshaft thrust bearing caps (B).
|
| 37. |
Seperate the timing chain from the sprocket and then, remove the LH/RH camshafts and CVVT assemblies (A).
|
| 38. |
Remove the LH/RH camshaft carriers (A).
|
| 39. |
Remove the roller finger follower and the hydraulic lash adjuster (HLA) assembly (A).
|
| 40. |
Remove the LH/RH cylinder heads (A).
|
| 41. |
Remove the LH/RH cylinder head gaskets (A).
|
| Disassembly |
| 1. |
Remove the valves.
|
| Inspection |
| 1. |
Inspect for flatness.
Using a precision straight edge and feeler gauge, measure the surface contacting cylinder block and the manifolds for warpage.
|
| 2. |
Inspect for cracks.
Check the combustion chamber, intake ports, exhaust ports and
cylinder block surface for cracks. If cracked, replace the cylinder
head. |
| 1. |
Inspect valve stems and valve guides.
|
| 2. |
Inspect valves.
|
| 3. |
Inspect valve seats.
|
| 4. |
Inspect valve springs.
|
| 1. |
Inspect cam lobes.
Using a micrometer, measure the cam lobe height.
If the cam lobe height is less than standard, replace the camshaft. |
| 2. |
Inspect the camshaft journal clearance.
|
| 3. |
Inspect the camshaft end play.
|
| 1. |
Inspect the CVVT assembly.
|

| Problem | Possible cause | Action | |||
| 1. Temporary noise when starting a cold engine | Normal | This noise will disappear after the oil in the engine reaches the normal pressure. | |||
| 2. Continuous noise when the engine is started after parking more than 48 hours. | Oil leakage of the high pressure chamber on the HLA, allowing air to get in. | Noise will disappear within 15 minutes when engine runs at 2000-3000 rpm.If it doesn’t disappear, refer to step 7 below. | |||
| 3. Continuous noise when the engine is first started after rebuilding cylinder head. | Insufficient oil in cylinder head oil gallery. | ||||
| 4. Continuous noise when the engine is started after excessively cranking the engine by the starter motor or band. | Oil leakage of the high-pressure chamber in the HLA, allowing air to get in.Insufficient oil in the HLA. | ||||
| 5. Continuous noise when the engine is running after changing the HLA. |
| ||||
| 6. Continuous noise during idle after high engine speed. | Engine oil level too high or too low. | Check oil level.Drain or add oil as necessary. | |||
| Excessive amount of air in the oil at high engine speed. | Check oil supply system. | ||||
| Deteriorated oil. | Check oil quality.If deteriorated, replace with specified type. | ||||
| 7. Noise continues for more than 15 minutes. | Low oil pressure. | Check oil pressure and oil supply system of each part of engine. | |||
| Faulty HLA. | Remove the cylinder head cover and press HLA down by hand.If it moves, replace the HLA.
|
| [In case of HLA alone] |
| 1. |
Stroke HLA in gas oil 4~5 times by pushing its cap while pushing the ball down slightly by hard steel wire.
|
| [After installed on vehicle] |
After installed on engine, HLA might give out unusual noise if air is mingled. Then apply slow racing as below. |
| 1. |
Racing at idle rpm for 1~3 minutes. |
| 2. |
Repeat the racing with below pattern.
|
| 3. |
Check the abnormal noise during racing. (Usually, abnormal
noise would be removed after 10~30 times racing above pattern. If there
is abnormal noise after 30 times racing, find another reason except
aeration in HLA) |
| 4. |
Racing 5 times more after removing the abnormal noise. |
| 5. |
Stop the air vent procedure after checking removing of abnormal noise for 1~3 minutes at idle rpm. |
| Reassembly |
|
| 1. |
Install the valves.
|
| Installation |
|
| 1. |
Install the cylinder head gasket (A).
|
| 2. |
Install the cylinder head bolts.
|
| 3. |
Install the LH/RH camshaft carrier assemblies.
|
| 4. |
Assemble the CVVT and camshaft assembly.
|
| 5. |
Install the roller finger follower and the hydraulic lash adjuster assembly (A).
|
| 6. |
Install the LH/RH CVVT and camshaft assemblies (A).
Camshaft identification mark
| |||||||||||||||||||||||||||||||||||||||
| 7. |
Install the timing chain to the CVVT sprocket.
|
| 8. |
Install the LH/RH camshaft bearing caps (A) and the camshaft thrust bearing caps (B).
Tighten the bolts in order to below sequence.
[RH]
[LH]
|
| 9. |
Install the LH/RH fuel pump adapters (A) and the roller tappets (B). (Refer to FL group)
|
| 10. |
Install the LH/RH cam to cam guides (A).
|
| 11. |
Confirm that the LH/RH timing chain tensioner is transport position by pressed as below.
The hook must be around the pin.
[LH]
[RH]
|
| 12. |
Install the LH timing chain guide bolt (B) and then the LH timing chain tensioner (A).
|
| 13. |
Install the RH timing chain guide bolt (B) and then the RH timing chain tensioner (A).
|
| 14. |
Set tension of the LH/RH timing chain tensioner.
|
| 15. |
After rotating the crankshaft 2 revolutions in regular direction (clockwise viewed from front), confirm the timing mark.
|
| 16. |
Install the water temperature control assembly (A) and the water outlet fitting assembly (B) with new O-ring and new gasket.
|
| 17. |
Install the water outlet pipe (A) and the water inlet pipe (B).
|
| 18. |
Install the LH/RH timing chain upper covers.
|
| 19. |
Install the LH/RH intake/exhaust oil control valves (OCV) (A).
|
| 20. |
Install the LH/RH exhaust manifolds (A) by tightening the
nuts as following method. (Refer to intake and exhaust system in this
group)
[RH]
[LH]
|
| 21. |
Install the LH/RH exhaust manifold heat protectors (A).
|
| 22. |
Install the engine coolant temperature sensor (ECTS) wiring assembly and bracket (A).
|
| 23. |
Install the oil pressure switch (OPS) wiring assembly and bracket (A).
|
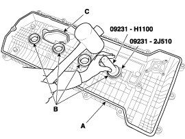
| 24. |
Use the SST (09231-2J510, 09231-H1100), install the oil seals (B) and the gaskets (A), fuel pump adapter gaskets (C).
|
| 25. |
Install the LH/RH cylinder head covers.
[RH]
[LH]
|
| 26. |
Install the LH/RH fuel pumps (A).
(Refer to FL group)
|
| 27. |
Install the LH/RH ignition coils (A).
|
| 28. |
Reconnect the water hose (A).
|
| 29. |
Install the knock sensors (A) and wiring assembly brackets (B).
|
| 30. |
Install the injector & rail assembly (B) and cross over pipe (A).
(Refer to FL group)
|
| 31. |
Install the LH/RH high pressure fuel pipes (A).
(Refer to FL group)
|
| 32. |
Install the low pressure fuel tube (A).
(Refer to FL group)
|
| 33. |
Install the intake manifold module (A) by tightening the nuts as following method.
|
| 34. |
Install the injector connector bracket bolt (C), high
pressure fuel pipe bracket bolts (B)and the low pressure fuel tube
bracket bolt (A) to the intake manifold module.
|
| 35. |
Install the oil level gauge (A).
|
| 36. |
Connect the engine wiring harness connectors and hoses.
|
| 37. |
Turn the tensioner (B) clockwise and loosen, then install the drive belt (A).
|
| 38. |
Install the radiator & cooling fan assembly.
(Refer to Cooling system in this group) |
| 39. |
Connect the heater hoses (A),
|
| 40. |
Connect the fuel hose (A), the purge control solenoid valve (PCSV) hose (B) and the brake booster vacuum hose (C).
|
| 41. |
Connect the radiator upper hose (A) and lower hose (B).
|
| 42. |
Install the air cleaner assembly.
|
| 43. |
Install the engine room cover (A), the engine cover (B) and the radiator grill upper cover (C).
|
| 44. |
Connect the battery negative terminal (A).
|
Cylinder Head Components and Components Location
Cylinder BlockSpeakers Repair procedures
Inspection
1.
Troubleshooting for Speaker
(1)
Basic inspection of speaker
Inspect the sound from speaker after verifying that the
speaker mounting screws are removed and the wiring connector ...
Curtain Airbag (CAB) Module Repair procedures
Removal
1.
Disconnect the battery negative cable and wait for at least 3 minutes before beginning work.
2.
Remove the roof trim assembly.
(Refer to Body - "Roof Trim Assembly")
3.
Disconn ...
Smart key precautions
The smart key will not work if any of the following occur:
- The smart key is close to a radio transmitter such as a radio station or an
airport which can interfere with normal operation of th ...