>

Hyundai Equus: Relay Box (Passenger Compartment) Description and Operation - Fuses And Relays - Body Electrical System - Hyundai Equus VI 2009-2025 Service ManualHyundai Equus: Relay Box (Passenger Compartment) Description and Operation

Description
1.
Smart Junction Box(SJB)
(1)
General function : Interior Junction Box + some functions of BCM
(2)
It controls loads with CAN communication and IPS.

(3)
IPS stands for Intelligent Power Switch, which uses the semiconductor technology to replace the current role of fuse and relay. (The IPS device protects the current load control function from the overcurrent.)

   
The advantages of IPS are as follows:
-
Reduce relay and consequently decrease weight and volume
-
Remove the relay operation noise
-
Not necessary to replace fuse, increasing the product life
-
Diagnosis capability
2.
SJB Main function
(1)
SJB includes a part of BCM function, but does not make decision on the logic.
(2)
Operate based on the CAN commands from BCM without making decisions on the logic.
(3)
Can detect failure at the output.
A.
Self diagnostics(Lamp open/short)
B.
Fail safe
C.
Protection of bulb over-voltage (PWM function)
D.
Cut of Over-load and Short : PCL (Program Current Limit)
3.
SJB & CAN communication

   
Refer to the "Body Network System" for the abbreviation information.
4.
SJB (Smart Junction Box) Main function

(1)
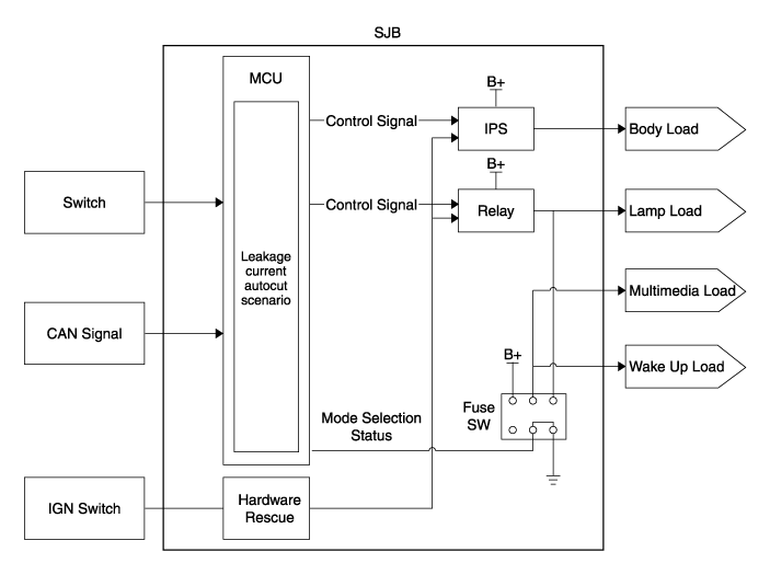
Functions and functional block diagram
The smart junction box controls the power distribute, dark current cut system, switch input, ESS control and hazard lamp as below diagram.

NO
Functions
Description
1
Dark current cut system
The SJB cut the supply power to reduce the dark current automatically.
2
Switch input
The SJB send the switch state to each modules using CAN communication.
3
Hazard indicator
The SJB control the hazard switch indicator as ordered by FAM (using CAN communication)
4
ESS (Emergency Stop Signal)
The SJB send the ESS control signal to SSEM module as ordered by BCM (using CAN communication)
5
Trunk lid relay
The SJB control the trunk lid relay as ordered by BCM (using CAN communication)

(2)
Description of switch input procedure of the SJB
Control flow

Switch input signal
NO
Switch
1
Driver door switch
2
Assist door switch
3
Rear right door switch
4
Rear left door switch
5
Driver seat belt switch
6
Assist seat belt switch
7
Trunk switch
8
Trunk lid switch
9
Hazard lamp switch
10
Hood switch
11
Brake fluid switch
12
Trunk door lock switch

(3)
Hazard indicator control procedure of the SJB
Control flow

(4)
ESS (Emergency Stop Signal) control procedure of the SJB
Control flow

(5)
Trunk lid relay control procedure of the SJB
Control flow

5.
Auto Cut System of Dark Current

(1)
Description : It cuts automatically power to be provided with load for reducing useless dark current according to vehicle state.

(2)
SJB had 3 modes, "Normal Mode", "Sleep Mode", "Power Off Mode". Auto cut of dark current practice in "Sleep Mode".
A.
"Sleep" condition : IG OFF, constant input switch, CAN network doesn't activate.
B.
"Sleep" resolutive condition : Any switch inputs, CAN network activates, KEY ON, IGN ON
C.
"Power OFF" condition : The setting time of timer which is used by cutting a load power expires.
D.
"Normal Mode" : SJB function normally activates.
E.
"Sleep Mode" : It is low power mode and activates for reducing electricity consumption of SJB or IPM. Auto cut of dark current function activates.
F.
"Power OFF Mode" : Power of MCU and circumferential circuit is cut for minimizing electricity consumption. Operation stops.
(3)
The explanation - The auto cut of dark current

Before delivering to customer
Fuse switch OFF
•
All door close & RKE door lock or Constant switch state
(Auto cut of dark current scenario starts.)
-
After "sleep" state is for 20 min.
-
SJB power down(SJB dark current : 200 xA) and cutting power of Lamp/Body Load/Wake up

After delivering to customer
Fuse switch ON
•
All door close & Constant switch state : C_BAState=OFF
(Auto cut of dark current scenario starts.)
-
After "sleep" state is for 20 min.
-
SJB power down(SJB dark current : 200 xA) and cutting power of Lamp Load
•
In case RKE door lock : C_BAState=ON & Trunk SW=CLOSE
(Auto cut of dark current scenario starts.)
-
After "Sleep" state 35s~65s (Waiting time of other unit : 30~60s + SJB sleep counts 5s)
-
SJB Powerdown(SJB dark current : 200 xA) and cutting power of Lamp Load 


(4)
Problem when fuse switch setting is wrong
: If a fuse switch is set to OFF(Before delivering to customer) by a customer or technician and auto cut function of dark current activates, below problems may happen.
Symptom
Related part
•
Door lock/unlock, trunk open don't activate by RKE.
(Wakeup of each module don't activate.)
BCM
•
Digital clock is reset.(Memory is reset.)
Digital clock
•
Setting value of audio(Volume, Frequency setting) is reset.
(Memory is reset.)
Audio

* If fuse switch OFF(before delivering to customer) is set, power of BCM, Digital clock and audio is shut off.
    Relay Box (Passenger Compartment) Components and Components Location
    Component Location ...

    Relay Box (Passenger Compartment) Repair procedures
    Inspection 1. The SJB can be diagnosed by using the GDS. The SJB communicates with the GDS which then displays inputs and outputs along with codes. 2. To diagnose the SJB function, select ...

    See also:

    Repair procedures
    Diagnosis With GDS 1. BSD system defects can be quickly diagnosed with the GDS. GDS operates actuator quickly to monitor, input/output value and self diagnosis. 2. Connect the cable of GDS ...

    Tilting the Sunroof
    To tilt the sunroof open: Push the sunroof control lever upward to the second detent position. To stop the sunroof tilting at any point, operate the control lever. To close the sunroof: Pull ...

    General Information
    General 1. Basically, all measurements in this manual are taken with a tracking gauge. 2. When a measuring tape is used, check to be sure there is no elongation, twisting or bending. 3. ...

    Categories

    Hyundai Equus Manuals

    © 2011-2025 Copyright www.heqmanual.com