Engine removal is required for this procedure.
| • |
Use fender covers to avoid damaging painted surfaces. |
| • |
To avoid damage, unplug the wiring connectors carefully while holding the connector portion. |
| • |
When handling a metal gasket, take care not to fold the gasket or damage the contact surface of the gasket. |
| • |
To avoid damage, unplug the wiring connectors carefully while holding the connector portion. |
|
| • |
Mark all wiring and hoses to avoid misconnection. |
| • |
Turn the crankshaft pulley so that the No.1 piston is at top dead center. |
|
| 1. |
Remove the engine and transmission assembly from the vehicle.
(Refer to Engine and transmission assembly in this group) |
| 2. |
Remove the cylinder head assembly.
(Refer to Cylinder head assembly in this group) |
| 3. |
Remove the alternator (A). 
|
| 4. |
Remove the alternator bracket (A). 
|
| 5. |
Remove the air conditioner compressor (A).
(Refer to HA group) 
|
| 6. |
Remove the drive belt idler (A). 
|
| 7. |
Remove the drive belt tensioner (A). 
|
| 8. |
Remove the water pump pulley (A). 
|
| 9. |
Remove the oil filter & cooler assembly (A). 
|
| 10. |
Remove the lower oil pan (A).
Insert the blade of SST (09215-3C000) between the upper oil
pan and the lower oil pan. Cut off applied sealer and remove the lower
oil pan. 
| • |
Insert the SST between the lower oil pan and the upper oil
pan by tapping it with a plastic hammer in the direction of (1) arrow. |
| • |
After tapping the SST with a plastic hammer along the
direction of (2) arrow around more than 2/3 edge of the lower oil pan,
remove it from the lower oil pan. |
| • |
Do not use the SST as a prybar. Hold the tool in position (on the gasket line) and tap in with a light hammer. |
| • |
Be careful not to damage the contact surfaces of Upper oil pan and lower oil pan. |
|
|
| 11. |
Remove the upper oil pan (A).
Insert the blade of SST (09215-3C000) between the upper oil
pan and the cylinder block. Cut off applied sealer and remove upper oil
pan. 
| • |
Insert the SST between the upper oil pan and the cylinder
block by tapping it with a plastic hammer in the direction of (1) arrow.
|
| • |
After tapping the SST with a plastic hammer along the
direction of (2) arrow around more than 2/3 edge of the upper oil pan,
remove it from the upper oil pan. |
| • |
Do not use the SST as a prybar. Hold the tool in position (on the gasket line) and tap in with a light hammer. |
| • |
Be careful not to damage the contact surfaces of Upper oil pan and cylinder block. |
|
|
| 12. |
Remove the crankshaft pulley (A). 
|
Use the SST (09231-2B100, 09231-3N100) to remove the crankshaft pulley bolt, after remove the starter. |

|
| 13. |
Remove the front oil seal (A). 
|
| 14. |
Remove the water temperature control assembly (A) and water outlet fitting (B). 
|
| 15. |
Remove the water pump (A). 
|
| 16. |
Remove the O-ring (A) from the water temperature control assembly. 
|
| 17. |
Remove the timing chain lower cover (A).
[Front] 
[Rear] 
|
| 18. |
Remove the O-ring (A) from the timing chain cover. 
|
| 19. |
Remove the RH timing chain tensioner arm (A). 
|
| 20. |
Remove the RH timing chain guide (A) and the chain (B). 
|
| 21. |
Remove the LH timing chain tensioner arm (A). 
|
| 22. |
Remove the LH timing chain guide (A) and the chain (B). 
|
| 23. |
Insert a set pin after compressing the oil pump chain tensioner (A) and then remove the tensioner. 
|
| 24. |
Remove the oil pump sprocket (A) and the chain (B). 
|
| 25. |
Remove the crankshaft sprocket (A) and friction plates (B). 
|
| 26. |
Remove the tensioner adapter (A) and the timing chain guide bolts (B). 
|
Sprockets, Chain Tensioner, Chain Guide, Chain Tensioner Arm
| 1. |
Check the camshaft sprocket and crankshaft sprocket for abnormal wear, cracks, or damage. Replace as necessary. |
| 2. |
Inspect the tensioner arm and chain guide for abnormal wear, cracks, or damage. Replace as necessary. |
| 3. |
Check that the tensioner piston moves smoothly when the ratchet pawl is released with thin rod. |
| 1. |
Install the tensioner adapter (A) and the timing chain guide bolts (B).
Tightening torque
Tensioner adapter bolts:
21.6 ~ 25.5 N.m (2.2 ~ 2.6 kgf.m, 15.9 ~ 18.8 lb-ft)
Timing chain guide bolts :
21.6 ~ 25.5 N.m (2.2 ~ 2.6 kgf.m, 15.9 ~ 18.8 lb-ft)
|

|
| 2. |
Install the crankshaft sprocket (A) with the friction plates (B).
|
Completely fix the four friction plate clips and the sprocket groove.
Align the key-home of the friction plate with the key-home of the sprocket.
Be careful for the clip not to be folded.
The timing mark (yellow color) should be toward engine front.
The bigger side of crankshaft sprocket outer diametar [O45.7mm (1.7992in.)] should be toward crankshaft.
The block is placed at bottom up before install the timing chain system and timing chain cover assembly. |

|
The mark of friction plate should be placed top. (Engine is placed bottom up) |

|
| 3. |
Install the oil pump chain (B) with the oil pump sprocket (A).
Tightening torque :
21.6 ~ 25.5 N.m (2.2 ~ 2.6 kgf.m, 15.9 ~ 18.8 lb-ft)
|

|
| 4. |
Install the oil pump tensioner (A).
Tightening torque :
9.8 ~ 11.8 N.m (1.0 ~ 1.2 kgf.m, 7.2 ~ 8.7 lb-ft)
|

|
| 5. |
Install the LH timing chain guide (A) and the chain (B). Insert the guide to the fixing pipe of guide bolt with the chain. 
|
The chain color link (yellow) should be toward engine front.
Align the timing mark of the fliction plate and crankshaft sprocket. |
|
| 6. |
Install the LH timing chain tensioner arm (A).
Tightening torque :
21.6 ~ 25.5 N.m (2.2 ~ 2.6 kgf.m, 15.9 ~ 18.8 lb-ft)
|

|
| 7. |
Hold the LH timing chain, guide and arm using the timing chain locking tool (SST : 09231-2J600). 
|
| 8. |
Install the RH timing chain guide (A) and the chain (B). Insert the guide to the fixing pipe of guide bolt with the chain. 
|
The chain color link (yellow) should be toward engine front.
Align the timing mark of the fliction plate and crankshaft sprocket. |
|
| 9. |
Install the RH timing chain tensioner arm (A).
Tightening torque :
21.6 ~ 25.5 N.m (2.2 ~ 2.6 kgf.m, 15.9 ~ 18.8 lb-ft)
|

|
| 10. |
Hold the RH timing chain, guide and the arm using the timing chain locking tool (SST : 09231-2J600). 
|
| 11. |
Pull out the oil pump tensioner stopper pin, and make sure tension is set. And confirm the timing chain align mark again. 
|
Confirm that the "shoe" area of oil pump tensioner is protruding.
Fliction plate mark, timing chain color link (yellow) and crankshaft sprocket mark (yellow) should be matched. |
|
| 12. |
Install the timing chain lower cover.
|
Assemble the timing chain lower cover with engine bottom up condition. |
| (1) |
The sealant locations on chain lower cover and on counter
parts (cylinder head, cylinder block, and lower oil pan) must be free of
engine oil and etc. |
| (2) |
Install the new gasket (A) to the timing chain lower cover. 
|
| (3) |
Apply liquid sealant LT 5900H (Hyundai Gray RTV) or
equivalent on timing chain lower cover. The part must be assembled
within 5 minutes after sealant was applied.
Sealant should be applied in a continuous beed in each of the areas indicated below.
Bead width : O2.5 ± 0.5mm
|


| • |
During timing chain lower cover installation, care not to
take off applied sealant on the timing chain lower cover by contact with
other parts. |
| • |
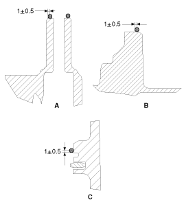
Apply sealant in a 4.0 ± 0.5mm wide spot for the 4 T-joints (D). |
|
|
| (4) |
The dowel pins on the cylinder block and holes on the timing
chain lower cover should be used as a reference in order to assemble the
timing chain lower cover to be in exact position.
Tightening torque :
23.5 ~ 25.5 N.m (2.4 ~ 2.6 kgf.m, 17.4 ~ 18.8 lb-ft)
|
[Front] 
[Rear] 
|
| (5) |
Running the engine or performing a pressure test should not be performed within 30 minutes of assembly. |
|
| 13. |
Install the cylinder head assembly.
(Refer to cylinder head assembly in this group)
|
Before install the cylinder head assembly, place the engine up right. |
|
| 14. |
Install the camshaft and camshaft carrier assembly. (Refer to cylinder head assembly in this group) |
| 15. |
Remove the SST from the timing chain guide and the timing chain tensioner arm. |
| 16. |
Install the timing chain to the CVVT sprocket. (Refer to cylinder head assembly in this group) 

|
To install the timing chain with no slack between each shaft (cam, crank), follow the below procedure.
Crankshaft sprocket > Timing chain guide > Exhaust CVVT sprocket > Intake CVVT sprocket. (LH Bank)
Crankshaft sprocket > Timing chain guide > Intake CVVT sprocket > Exhaust CVVT sprocket. (RH Bank)
The timing mark of each sprockets should be matched with timing mark (orange color link) of timing chain during installation. |
|
| 17. |
Install the timing chain tensioner. (Refer to cylinder head assembly in this group) |
| 18. |
After rotating the crankshaft 2 revolutions in regular direction (clockwise viewed from front), confirm the timing mark.
|
Always turn the crankshaft clockwise.
Turning the crankshaft counter clockwise before building up
oil pressure in the hydraulic timing chain tensioner may result in the
chain disengaging from the sprocket teeth. |
|
| 19. |
Install the O-ring (A) to the water temperature control assembly. 
|
| 20. |
Install the water temperature control assembly (A) and the water outlet fitting (B).
Tightening torque
Water temperature control assembly bolts :
16.7 ~ 19.6 N.m (1.7 ~ 2.0 kgf.m, 12.3 ~ 14.5 lb-ft)
Water outlet fitting bolts (M8) :
16.7 ~ 19.6 N.m (1.7 ~ 2.0 kgf.m, 12.3 ~ 14.5 lb-ft)
Water outlet fitting bolt (M6) :
9.8 ~ 11.8 N.m (1.0 ~ 1.2 kgf.m, 7.2 ~ 8.7 lb-ft)
|

|
| 21. |
Install the water pump (A) with a new gasket.
Tightening torque :
19.6 ~ 24.5 N.m (2.0 ~ 2.5 kgf.m, 14.5 ~ 18.1 lb-ft)
|

|
| 22. |
Using SST (09231-2J310, 09231-H1100), Install the front oil seal (A). 
|
| 23. |
Install the crankshaft pulley (A).
Tightening torque :
127.5 ~ 137.3 N.m(13.0 ~ 14.0 kgf.m, 94.0 ~ 101.3 lb-ft) + 90°~ 94°
(or 392.3 ~ 402.1 N.m [40.0 ~ 41.0 kgf.m, 289.3 ~ 296.6 lb-ft])
|

|
Use the SST(09231-2B100, 09231-3N100) to install the crankshaft pulley bolt, after remove the starter. |

|
| 24. |
Install the upper oil pan.
| (1) |
Using a gasket scraper, remove all the old gasket material from the gasket surfaces. |
| (2) |
Before assembling the oil pan, the liquid sealant LT 5900H (Hyundai Gray RTV) or equivalent should be applied on upper oil pan.
The part must be assembled within 5 minutes after the sealant was applied.
Bead width : 2.5mm (0.1in)
|

| • |
Clean the sealing face before assembling two parts. |
| • |
Remove harmful foreign materials on the sealing face before applying sealant. |
| • |
When applying sealant gasket, sealant must not protrude into the inside of oil pan. |
| • |
To prevent leakage of oil, apply sealant gasket to the inner threads of the bolt holes. |
|
|
| (3) |
Install the upper oil pan. 
Uniformly tighten the bolts in several passes.
Tightening torque :
9.8 ~ 11.8 N.m (1.0 ~ 1.2 kgf.m, 7.2 ~ 8.7 lb-ft)
|

|
|
| 25. |
Install the lower oil pan.
| (1) |
Using a gasket scraper, remove all the old gasket material from the gasket surfaces. |
| (2) |
Before assembling the oil pan, the liquid sealant LT5900H (Hyundai Gray RTV) or equivalent should be applied on lower oil pan.
The part must be assembled within 5 minutes after the sealant was applied.
Bead width : 2.5mm (0.1in)
|

| • |
Clean the sealing face before assembling two parts. |
| • |
Remove harmful foreign materials on the sealing face before applying sealant. |
| • |
When applying sealant gasket, sealant must not protrude into the inside of oil pan. |
| • |
To prevent leakage of oil, apply sealant gasket to the inner threads of the bolt holes. |
|
|
| (3) |
Install the lower oil pan (A). 
Uniformly tighten the bolts in several passes.
Tightening torque :
9.8 ~ 11.8 N.m (1.0 ~ 1.2 kgf.m, 7.2 ~ 8.7 lb-ft)
|

|
|
| 26. |
Install the oil filter & cooler assembly (A).
Tightening torque :
19.6 ~ 23.5 N.m ( 2.0 ~ 2.4 kgf.m, 14.5 ~ 17.4 lb-ft)
|

|
| 27. |
Install the water pump pulley (A).
Tightening torque :
18.6 ~ 23.5 N.m (1.9 ~ 2.4 kgf.m, 13.7 ~ 17.4 lb-ft)
|
|
Tighten each bolt gradually in a criss-cross pattern until the final tightening torque has been reached. |

|
| 28. |
Install the drive belt tensioner (A).
Tightening torque :
19.6 ~ 23.5 N.m (2.0 ~ 2.4 kgf.m, 14.5 ~ 17.4 lb-ft)
|

|
| 29. |
Install the drive belt idler (A).
Tightening torque :
37.3 ~ 41.2 N.m ( 3.8 ~ 4.2 kgf.m, 27.5 ~ 30.4 lb-ft)
|

|
| 30. |
Install the air conditioner compressor (A).
(Refer to HA group) 
|
| 31. |
Install the alternator bracket (A).
Tightening torque
Bolts (B) 4EA :
29.4 ~ 41.2 N.m (3.0 ~ 4.2 kgf.m, 21.7 ~ 30.4 lb-ft)
Bolt (C) 1EA :
19.6 ~ 26.5 N.m ( 2.0 ~ 2.7 kgf.m, 14.5 ~ 19.5 lb-ft)
|

|
| 32. |
Install the alternator (A).
Tightening torque :
29.4 ~ 41.2 N.m (3.0 ~ 4.2 kgf.m, 21.7 ~ 30.4 lb-ft)
|

|
| 33. |
Install the removed parts.
(Refer to Cylinder Head Assembly installation procedure in this group) |
Components
1. Timing chain upper cover2. Timing chain upper cover gasket3. CVVT assembly4. Camshaft5. Timing chain lower cover6. Timing chain lower cover gasket(#1)7. Timing chain lower cover gas ...
See also:
This device complies with Part 15 of the FCC rules.
Operation is subject to the following two conditions:
1. This device may not cause harmful interference, and
2. This device must accept any interference received, including interference that
may c ...
Heated Oxygen Sensor (HO2S) Description and Operation
Description
Heated Oxygen Sensor (HO2S) consists of zirconium and alumina
and is installed both upstream and downstream of the Manifold Catalytic
Converter. The sensor output voltage varies in ...
Rear window defroster
The defroster heats the window to remove frost, fog and thin ice from the rear
window, while the engine is running.
To activate the rear window defroster, press the rear window defroster button ...