>

Hyundai Equus: Repair procedures - Floor Carpet - Body (Interior and Exterior) - Hyundai Equus VI 2009-2026 Service ManualHyundai Equus: Repair procedures

Replacement
   
•
Put on gloves to protect your hands.
   
•
When prying with a flat-tip screwdriver, wrap it with protective tape, and apply protective tape around the related parts, to prevent damage.
•
Use a plastic panel removal tool to remove interior trim pieces to protect from marring the surface.
•
Take care not to bend or scratch the trim and panels.
1.
Remove the front seat assembly.
(Refer to Front Seat - "Front Seat Assembly")
2.
Remove the rear seat cushion assembly.
(Refer to Rear Seat - "Rear Seat Assembly")
3.
Remove the rear seat back assembly.
(Refer to Rear Seat - "Rear Seat Assembly")
4.
Remove the rear seat frame assembly.
(Refer to Rear Seat - "Rear Seat Frame Assembly")
5.
Remove the front pillar trim.
(Refer to Interior Trim - "Front Pillar Trim")
6.
Remove the center pillar lower trim.
(Refer to Interior Trim - "Center Pillar Trim")
7.
Remove the floor console assembly.
(Refer to Floor Console - "Floor Console Assembly")
8.
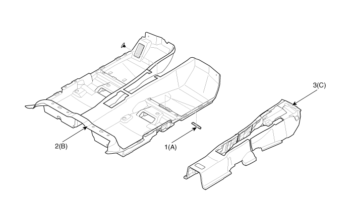
Using a screwdriver or remover, remove the frame id blanking bracket (A).
9.
Remove the accelerator pedal.
(Refer to Engine Control/Fuel System - "Accelerator Pedal")
10.
Remove the floor carpet assembly (B).
11.
Remove the tunnel pad (C).
12.
Install in the reverse order of removal.
   
•
Replace any damage clips.

1. Frame id blanking bracket
2. Floor carpet assembly
3. Tunnel pad

    Floor Carpet
    ...

    Front Bumper
    ...

    See also:

    Components and Components Location
    Components 1. Door module2. Window glass3. Power window motor4. Outside handle cover 5. Outside handle6. Door panel7. Door checker8. Door striker9. Outside handle pad10. Door striker cover11. Do ...

    Fuel Filler Door Release Actuator Repair procedures
    Inspection 1. Remove the trunk room left side trim. 2. Open the fuel filler door and remove the housing. (Refer to the BD group - "Exterior")     Do not reuse the fuel fill ...

    Around view monitoring system (AVM) (If equipped)
      This is the parking support system to show around circumstance when you park the vehicle in monitor. When you push the button in [ON] position, it is operated. To cancel the system, pu ...

    Categories

    Hyundai Equus Manuals

    © 2011-2026 Copyright www.heqmanual.com